Unersetzlich.com
Home
Kontakt
Versand
Gästebuch
AGB
Impressum
NEUGERÄTE
WOLF-Garten Sortiment
ERSATZTEILE
Ersatzteile für WOLF-Garten Geräte online bestellen
Katalog
WOLF-Garten Expert Ersatzteile
SERVICE
Recherche
Mein Konto
Einloggen
Registrieren
Computer
WOLF-Garten Expert
Übersicht
WOLF-Garten Expert
Rasentraktoren
Expert 105.185 H
13HJ99WN650 (2016)
Messerspindel 618-0609D / 918-0609D
Messerspindel 618-0609D / 918-0609D 13HJ99WN650 (2016)
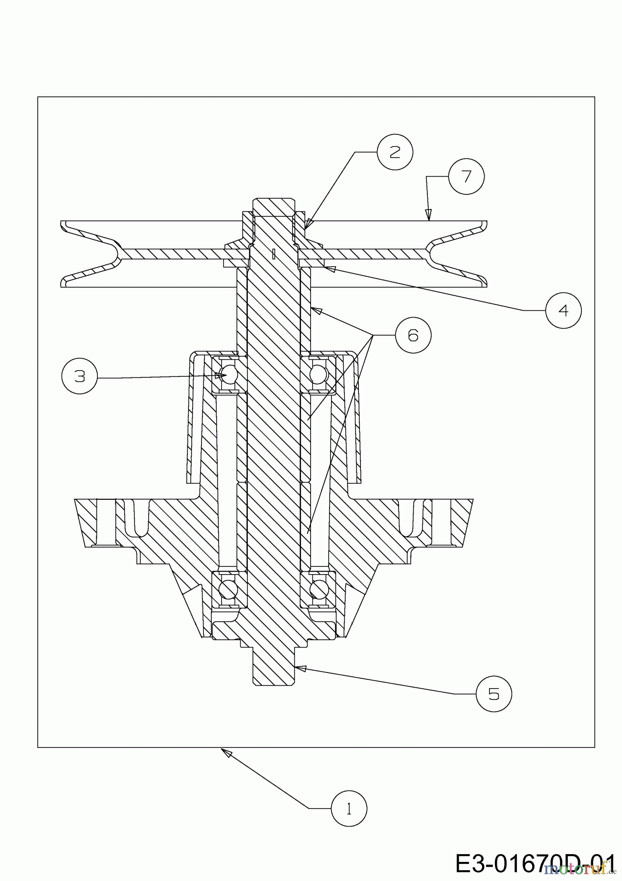
BildNr
Artikel Nummer
Bezeichnung
1
618-0609D
2
712-0417A
6KT-BUNDMUTTER:5/8-18
3
741-0919A
KUGELLAGER:.787IDx1.85OD x.551
4
736-0315
SCHEIBE:FLACH:.760x1.500x.120
5
738-1128
MESSERWELLE:SPINDEL:6.58" LG
6
750-1000
DISTANZBUCHSE:.80x1.10x1.330LG
7
756-1218
KEILRIEMENSCHEIBE:DECK
Qualitätsmanagement
Informieren Sie uns, wenn Sie einen Fehler gefunden haben.