Unersetzlich.com
Gartengeräte und Ersatzteile
Einkaufswagen
leer
Mein Konto
Einloggen
Registrieren
Home
Kontakt
Versand
Gästebuch
AGB
Impressum
NEUGERÄTE
WOLF-Garten Sortiment
ERSATZTEILE
Ersatzteile für WOLF-Garten Geräte online bestellen
Katalog
WOLF-Garten Expert Ersatzteile
SERVICE
Recherche
Mobilversion
WOLF-Garten Expert
Übersicht
WOLF-Garten Expert
Elektromäher
Expert 34 E
18CWF1S-C50 (2015)
Messer, Motor
Messer, Motor 18CWF1S-C50 (2015)
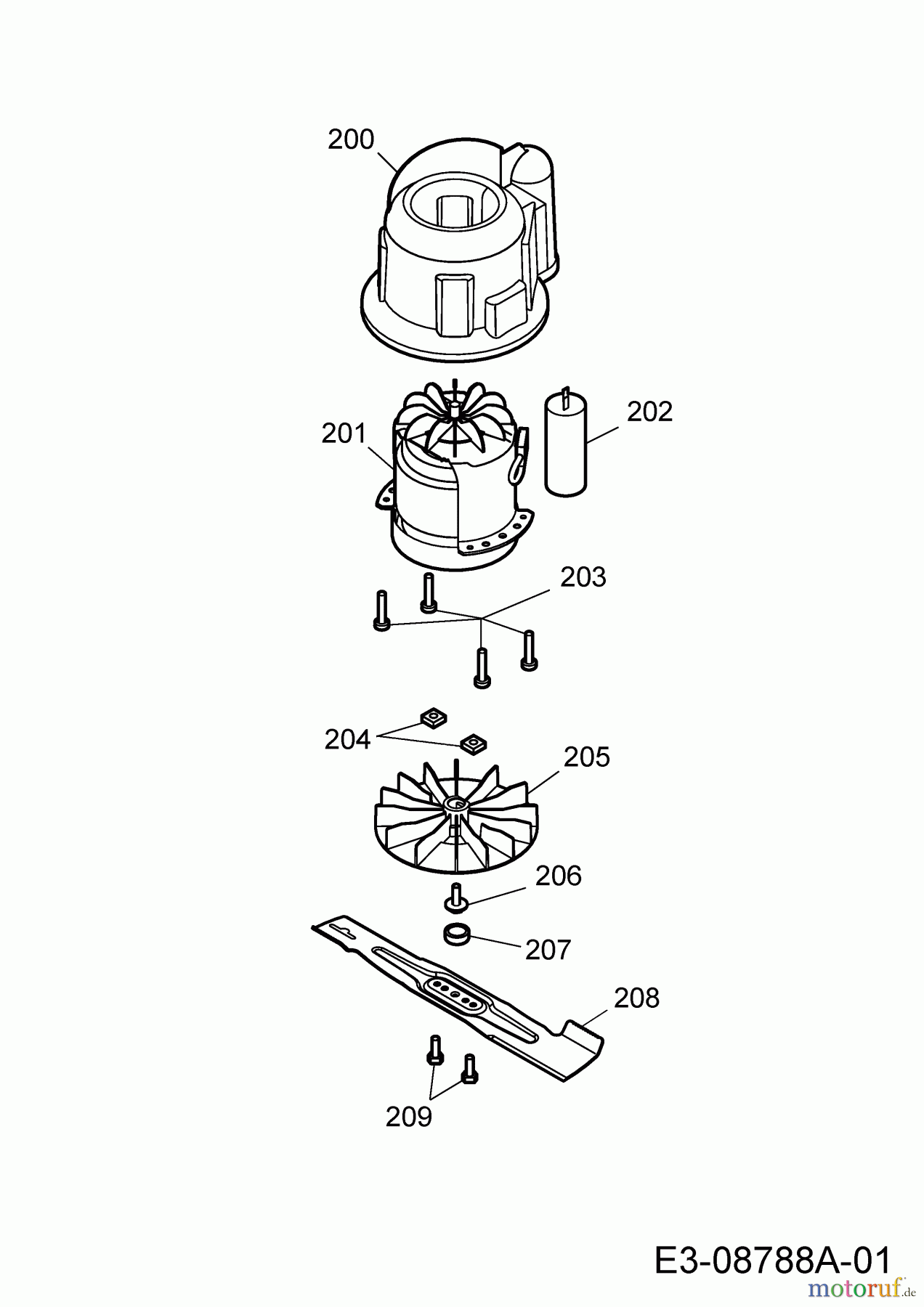
BildNr
Artikel Nummer
Bezeichnung
200
4907314
Luftführung
201
1115000
Motor 1500W +Al-Wicklung,
202
725-05109
KONDENSATOR 20uF:ELEK.
203
0012652
SF-Schr.M6X35-Duo Taptite Gew.
204
0016407
4kt-Mutter M6-DIN557-8 gal Zn
205
4907027
Lüfter, kpl. mit Buchse
206
0010686
6kt-Schr.M6X20-DIN6900-10.9-Zn
207
4936308
VERSCHLUSSSTOPFEN GPN 300V112
208
4904400
Messerbalken 34er, lackiert
209
0010368
6kt-Schr. M6x16-DIN933-10.9 ~