Ersatzteile
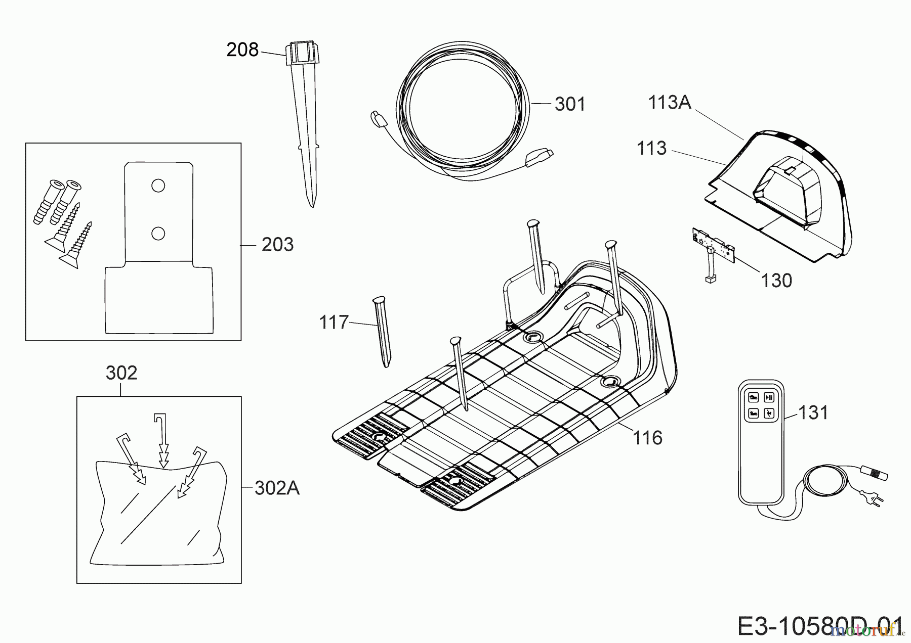
Basisstation, Heringe und Rasennägel, Power-Räder, Stromversorgung, Verlängerung 22ACDAED650 (2020)

Ersatzteile für WOLF-Garten Geräte können Sie bei uns ganz einfach online kaufen. Wählen Sie das Ersatzteil über die Ersatzteilliste Ihres Gerätes aus.


Qualitätsmanagement
Informieren Sie uns, wenn Sie einen Fehler gefunden haben.
