Ersatzteile
Messerspindel 618-07257A 13AQA1VR350 (2018)

Ersatzteile für WOLF-Garten Geräte können Sie bei uns ganz einfach online kaufen. Wählen Sie das Ersatzteil über die Ersatzteilliste Ihres Gerätes aus.
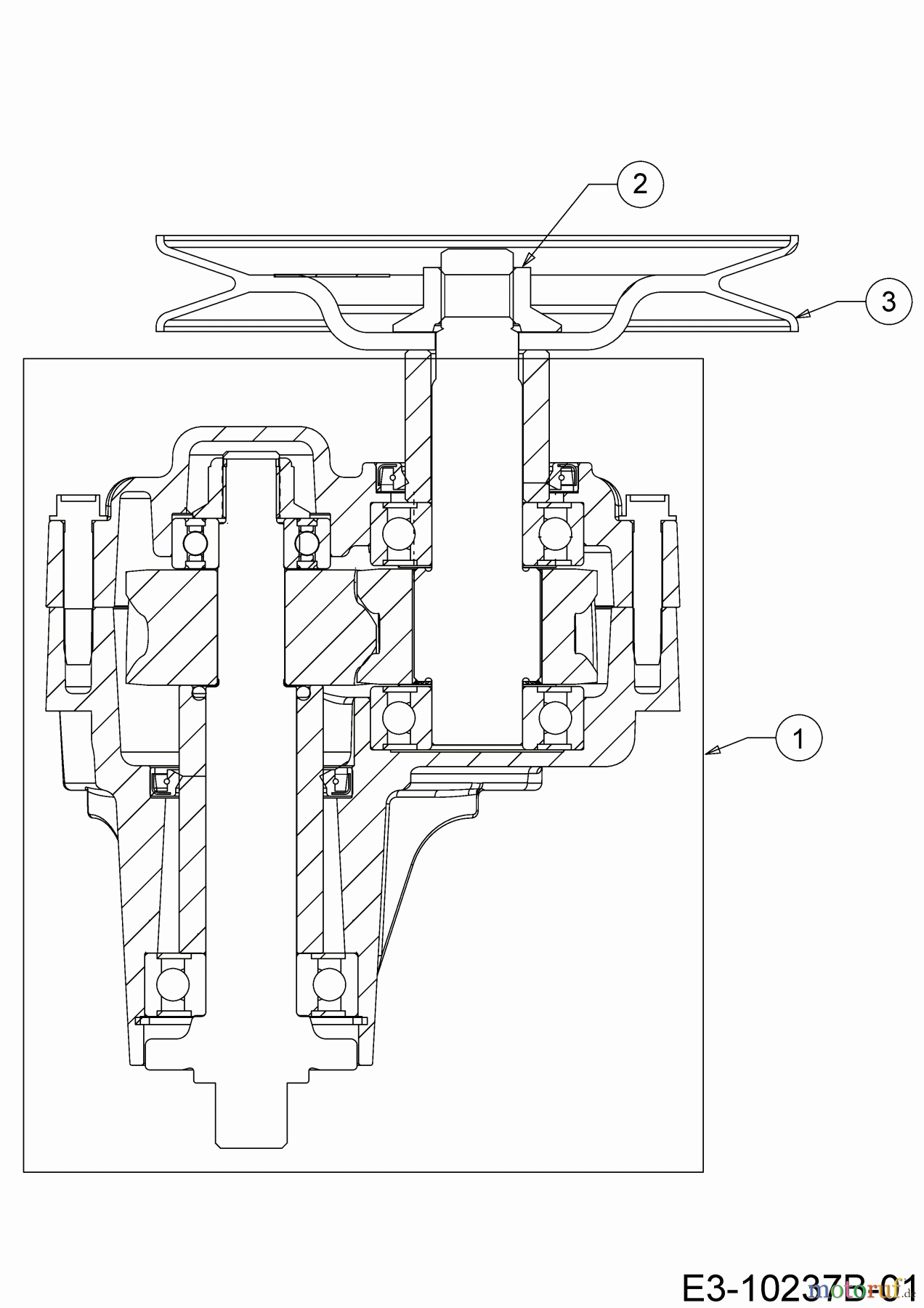
| BildNr | Artikel Nummer | Bezeichnung | |
| 1 | 618-07257AET | GETRIEBE(GEARBOX)VST:DECK 105 | |
| 2 | ![]() | 712-05134 | 6KT-BUNDMUTTER:5/8-18:GR2 |
| 3 | 756-05245 | KEILRIEMENSCHEIBE:DECK:5.570OD | |


Qualitätsmanagement
Informieren Sie uns, wenn Sie einen Fehler gefunden haben.
