Ersatzteile
Messer, Messeraufnahme 11B-LUSC650 (2018)

Ersatzteile für WOLF-Garten Geräte können Sie bei uns ganz einfach online kaufen. Wählen Sie das Ersatzteil über die Ersatzteilliste Ihres Gerätes aus.
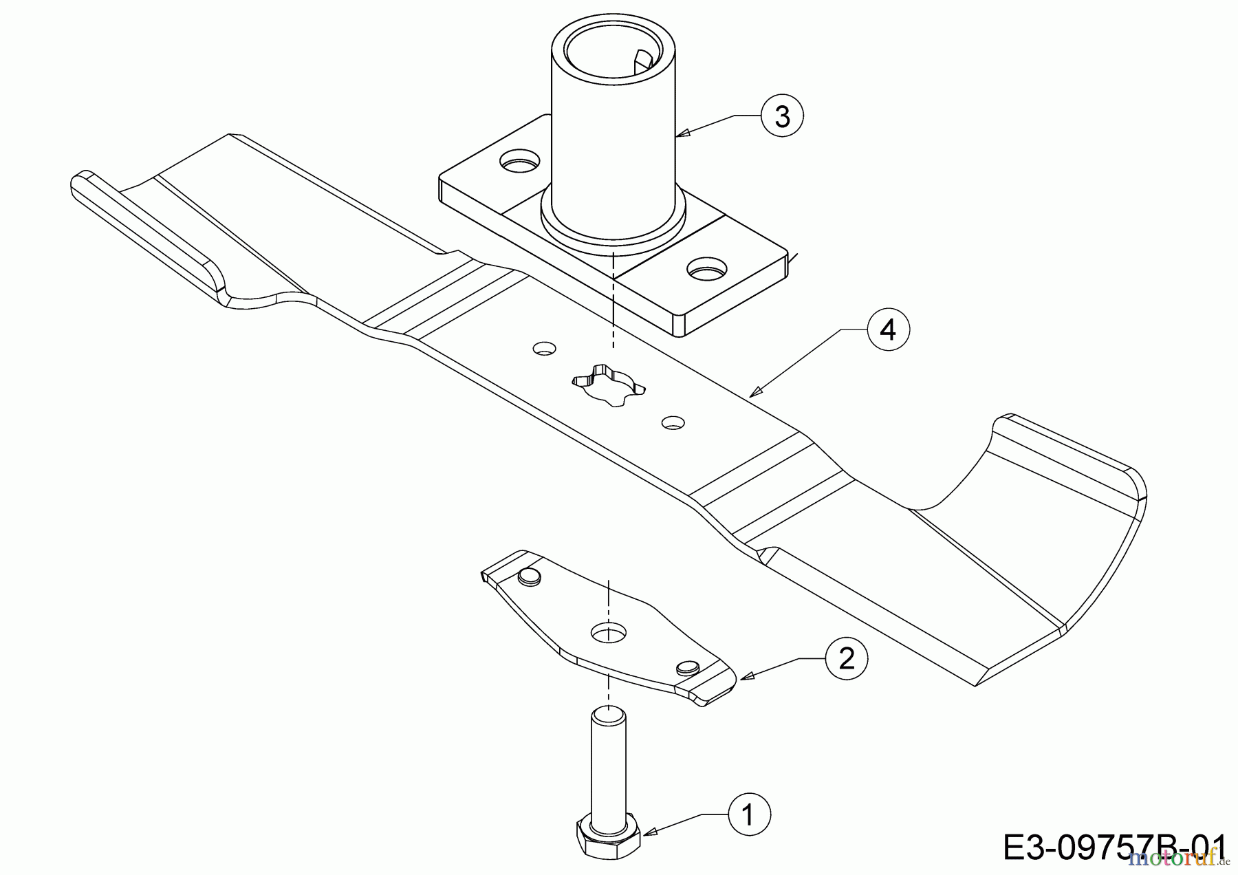
| BildNr | Artikel Nummer | Bezeichnung | |
| 1 | ![]() | 710-1044 | 6KT-SCHR.:3/8-24:1.50:GR8:SPEC |
| 3 | 687-05239 | MESSERNABE VST:7/8"ID x.43 PS | |
| 4 | ![]() | 742-04396B | MESSER 42CM 2IN1 W/STAR |


Qualitätsmanagement
Informieren Sie uns, wenn Sie einen Fehler gefunden haben.

