Ersatzteile
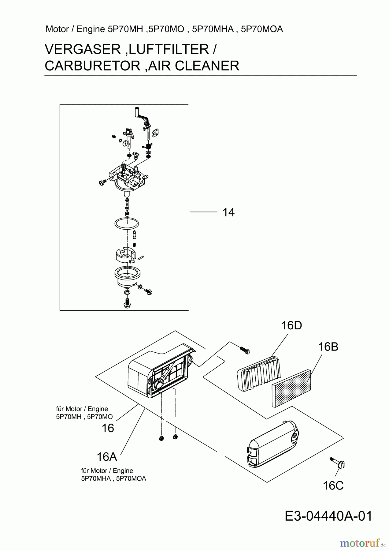
Luftfilter, Vergaser 752Z5P70MH (2009)

Ersatzteile für WOLF-Garten Geräte können Sie bei uns ganz einfach online kaufen. Wählen Sie das Ersatzteil über die Ersatzteilliste Ihres Gerätes aus.
| BildNr | Artikel Nummer | Bezeichnung | |
| 14 | ![]() | 751-10765 | VERGASER VOLLST. |
| 16 | 751-10405 | LUFTFILTERGEHÄUSE VOLLST. | |
| 16A | 751-10412A | LUFTFILTERGEHÄUSE | |
| 16B | 092.49.454 | SCHAUMSTOFFELEMENT | |
| 16C | ![]() | 751-10297 | LUFTFILTER SCHRAUBE * |
| 16D | ![]() | 092.49.465 | LUFTFILTERELEM.1P60FA/5P70MH |


Qualitätsmanagement
Informieren Sie uns, wenn Sie einen Fehler gefunden haben.


