Ersatzteile
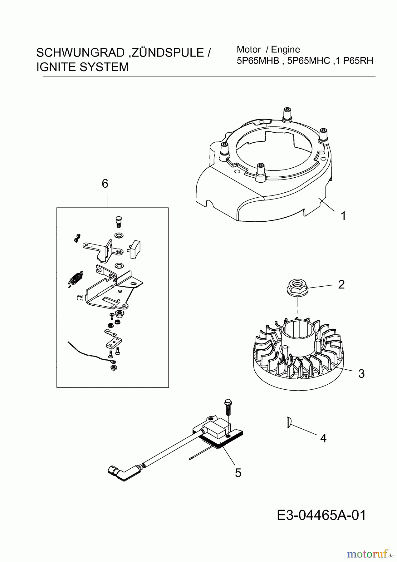
Schwungrad, Zündspule 752Z1P65RH (2011)

Ersatzteile für WOLF-Garten Geräte können Sie bei uns ganz einfach online kaufen. Wählen Sie das Ersatzteil über die Ersatzteilliste Ihres Gerätes aus.
| BildNr | Artikel Nummer | Bezeichnung | |
| 1 | 751-10875 | LÜFTERHAUBE | |
| 2 | 712-04221 | MUTTER M14 | |
| 3 | 751-11043 | SCHWUNGRAD | |
| 4 | 751-10307 | KEIL (LÜFTERRAD) | |
| 5 | ![]() | 751-10367 | ZÜNDSPULE 1P61/1P65 |
| 6 | 751-10320A | MOTORBREMSE VOLLST. | |


Qualitätsmanagement
Informieren Sie uns, wenn Sie einen Fehler gefunden haben.
