Ersatzteile
Luftfilter, Vergaser 752Z5P65MHA (2009)

Ersatzteile für WOLF-Garten Geräte können Sie bei uns ganz einfach online kaufen. Wählen Sie das Ersatzteil über die Ersatzteilliste Ihres Gerätes aus.
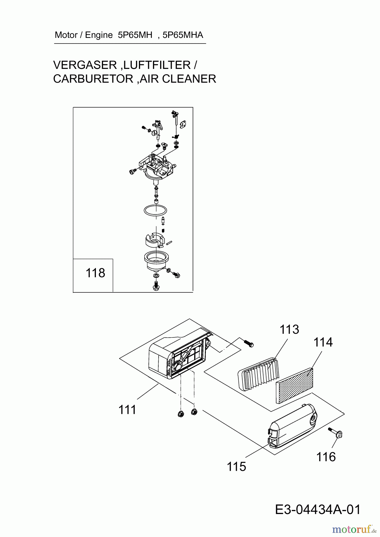
| BildNr | Artikel Nummer | Bezeichnung | |
| 111 | 092.49.601 | LUFTFILER VOLLST. | |
| 113 | ![]() | 092.49.465 | LUFTFILTERELEM.1P60FA/5P70MH |
| 114 | 092.49.454 | SCHAUMSTOFFELEMENT | |
| 115 | 092.49.464 | LUFTFILTERDECKEL | |
| 116 | ![]() | 751-10297 | LUFTFILTER SCHRAUBE * |
| 118 | ![]() | 751-10873 | VERGASER |




