Ersatzteile
Motor Prisma 37 L (2) 2031055 (1996)

Ersatzteile für WOLF-Garten Geräte können Sie bei uns ganz einfach online kaufen. Wählen Sie das Ersatzteil über die Ersatzteilliste Ihres Gerätes aus.
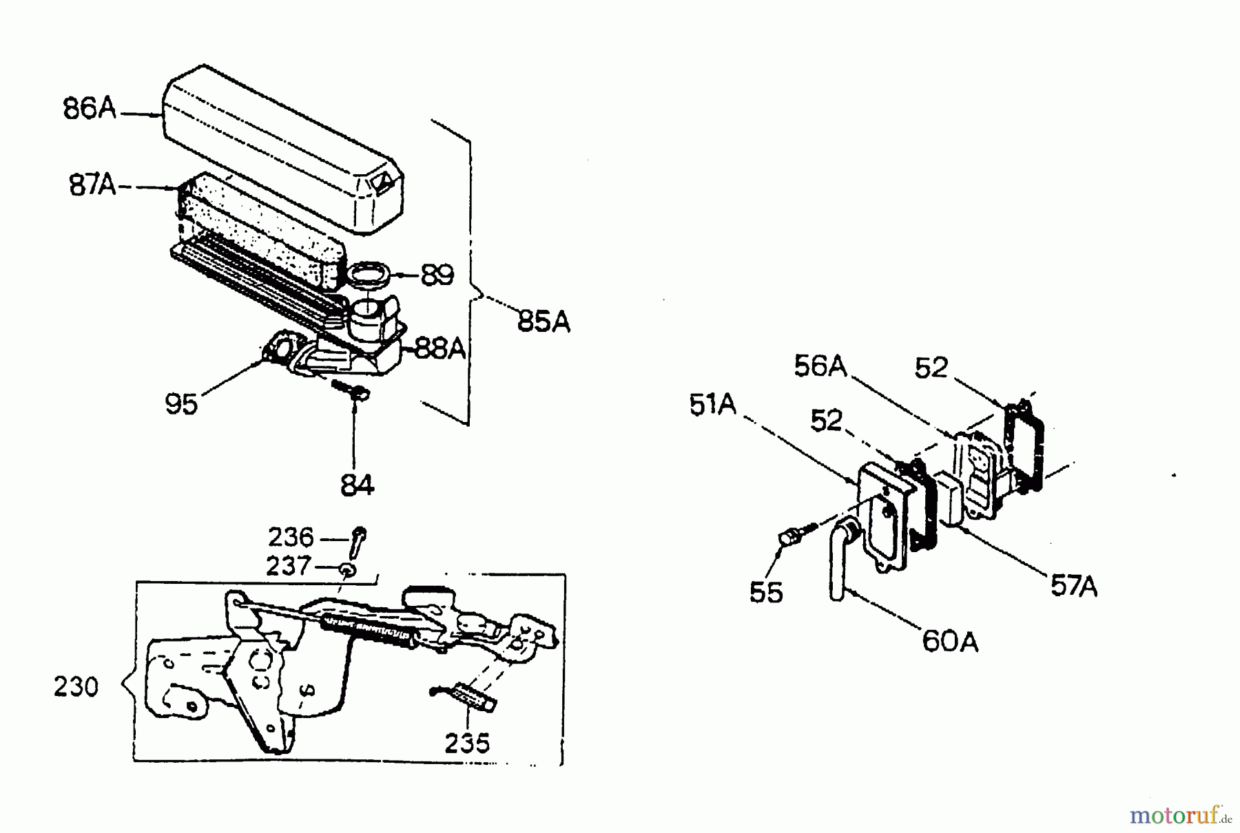
| BildNr | Artikel Nummer | Bezeichnung | |
| 51A | 2026319 | Deckel | |
| 52 | 1032306 | Dichtung | |
| 55 | 2031201 | Schraube | |
| 56A | 1039305 | Entlüfter | |
| 57A | 1038301 | Lüftereinsatz | |
| 60A | 1032311 | Schlauch | |
| 84 | 2031203 | Schraube | |
| 85A | 2031059 | Luftfilter kpl. | |
| 86A | 2031122 | Luftfilterdeckel | |
| 87A | 2087407 | ELEMENT F. F2 23410026 | |
| 88A | 2031123 | Luftfiltergehäuse | |
| 89 | 2087409 | Dichtung | |
| 95 | 2027403 | Dichtung | |
| 230 | 2031124 | Bremsgestänge | |
| 235 | 2031125 | Schalter | |
| 236 | 1032315 | 6 kt.-Schraube | |
| 237 | 2031126 | SCHEIBE | |


Qualitätsmanagement
Informieren Sie uns, wenn Sie einen Fehler gefunden haben.