Ersatzteile
Kolben, Pleuel 2098000 (2003)

Ersatzteile für WOLF-Garten Geräte können Sie bei uns ganz einfach online kaufen. Wählen Sie das Ersatzteil über die Ersatzteilliste Ihres Gerätes aus.
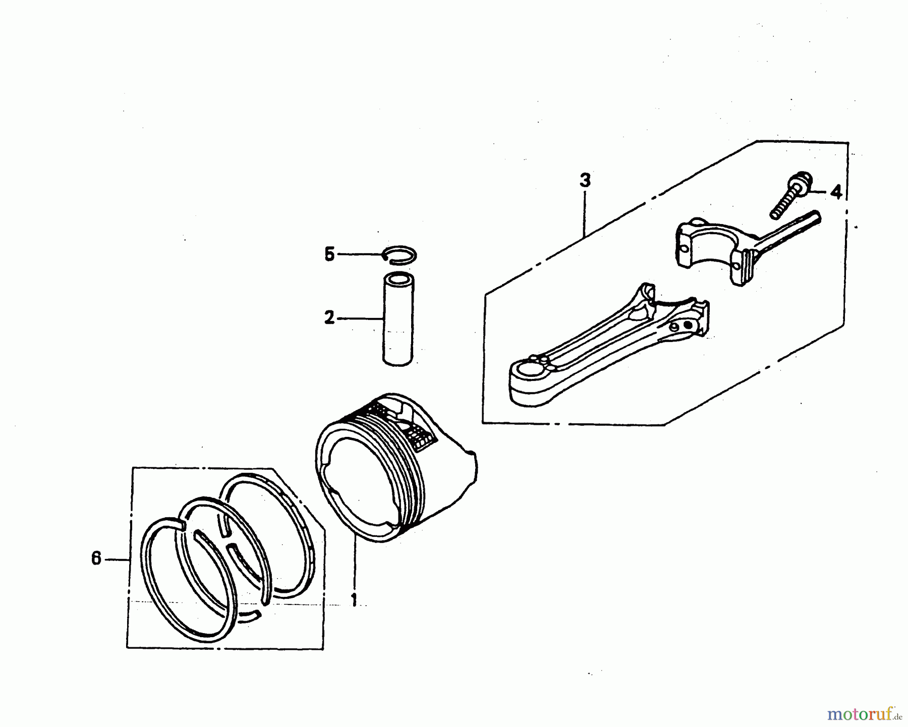
| BildNr | Artikel Nummer | Bezeichnung | |
| 1 | 2098401 | Kolben | |
| 2 | 2098425 | Stift | |
| 3 | 2098013 | Pleuelstange | |
| 4 | 2098100 | SCHRAUBE H2 90001-ZE1-000 | |
| 5 | 2098116 | Wellensicherung | |

