Ersatzteile
Regelung, Zündung 2066075 (1999)

Ersatzteile für WOLF-Garten Geräte können Sie bei uns ganz einfach online kaufen. Wählen Sie das Ersatzteil über die Ersatzteilliste Ihres Gerätes aus.
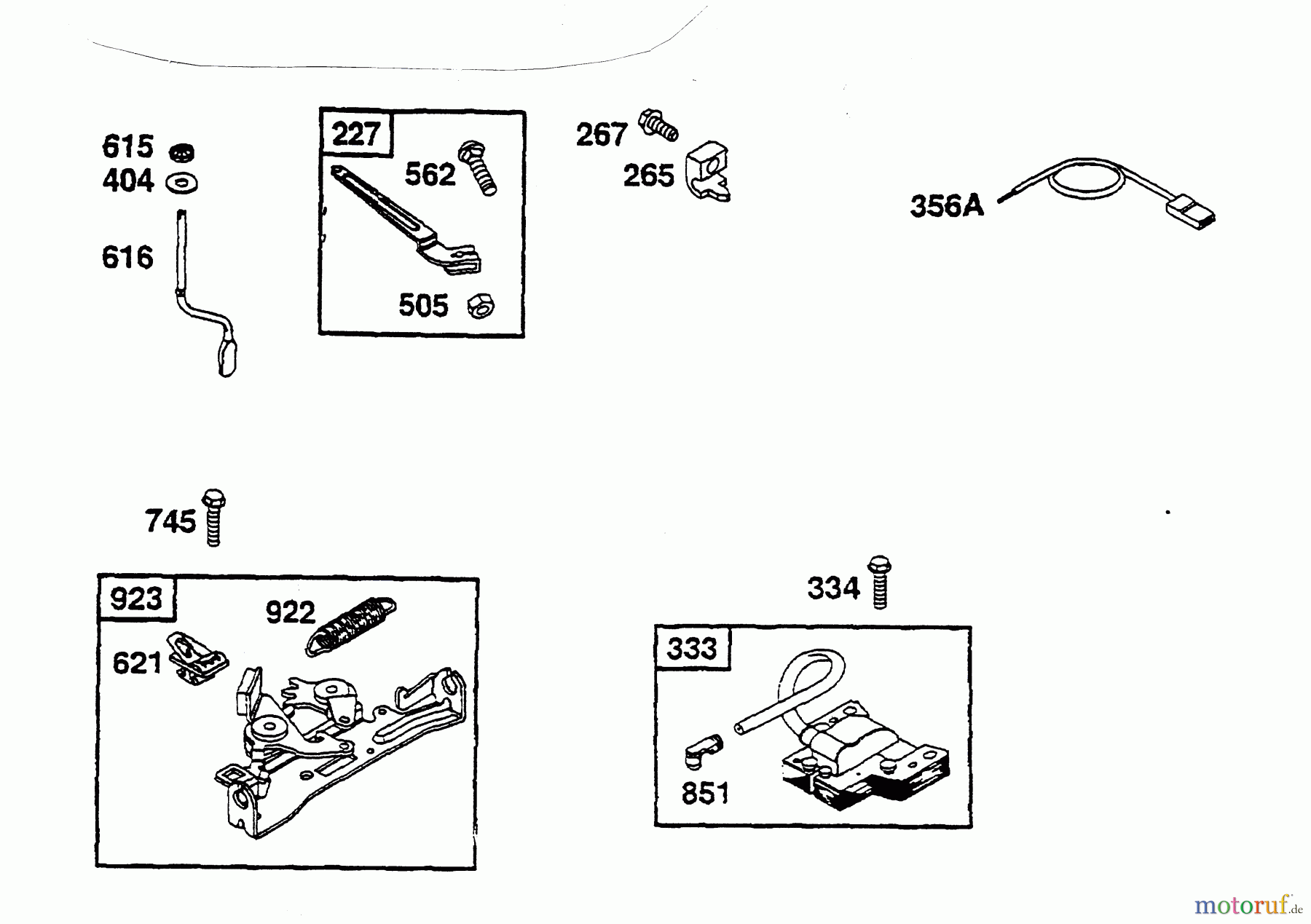
| BildNr | Artikel Nummer | Bezeichnung | |
| 227 | 2063054 | REGLERHEB. G2 60783 | |
| 265 | 2063312 | SCHELLE G2 690798 | |
| 267 | 2059304 | Schraube XE55 | |
| 333 | 2063056 | ZUENDSP.KP. | |
| 334 | 2059306 | Schraube XE55 | |
| 356A | 2057183 | KABEL G2 692390 | |
| 404 | 2063116 | SCHEIBE G2 690272 | |
| 423 | 2057102 | 6KT-SCHRAUBE G2 691627 | |
| 505 | 2063123 | Mutter | |
| 562 | 2057134 | Schraube | |
| 615 | 2058102 | Halter | |
| 616 | 2057163 | KURBEL G2 691306 | |
| 621 | 2063129 | Kurzschlußschalter | |
| 745 | 2063117 | SCHRAUBE G2 94 512 | |
| 851 | 2057179 | KABELKLEMME G2 493880S | |
| 922 | 2063307 | Feder | |
| 923 | 2063130 | BREMSE G2 493 442 | |

