Ersatzteile
Luftfilter XTE 35/40 2074050 (2000)

Ersatzteile für WOLF-Garten Geräte können Sie bei uns ganz einfach online kaufen. Wählen Sie das Ersatzteil über die Ersatzteilliste Ihres Gerätes aus.
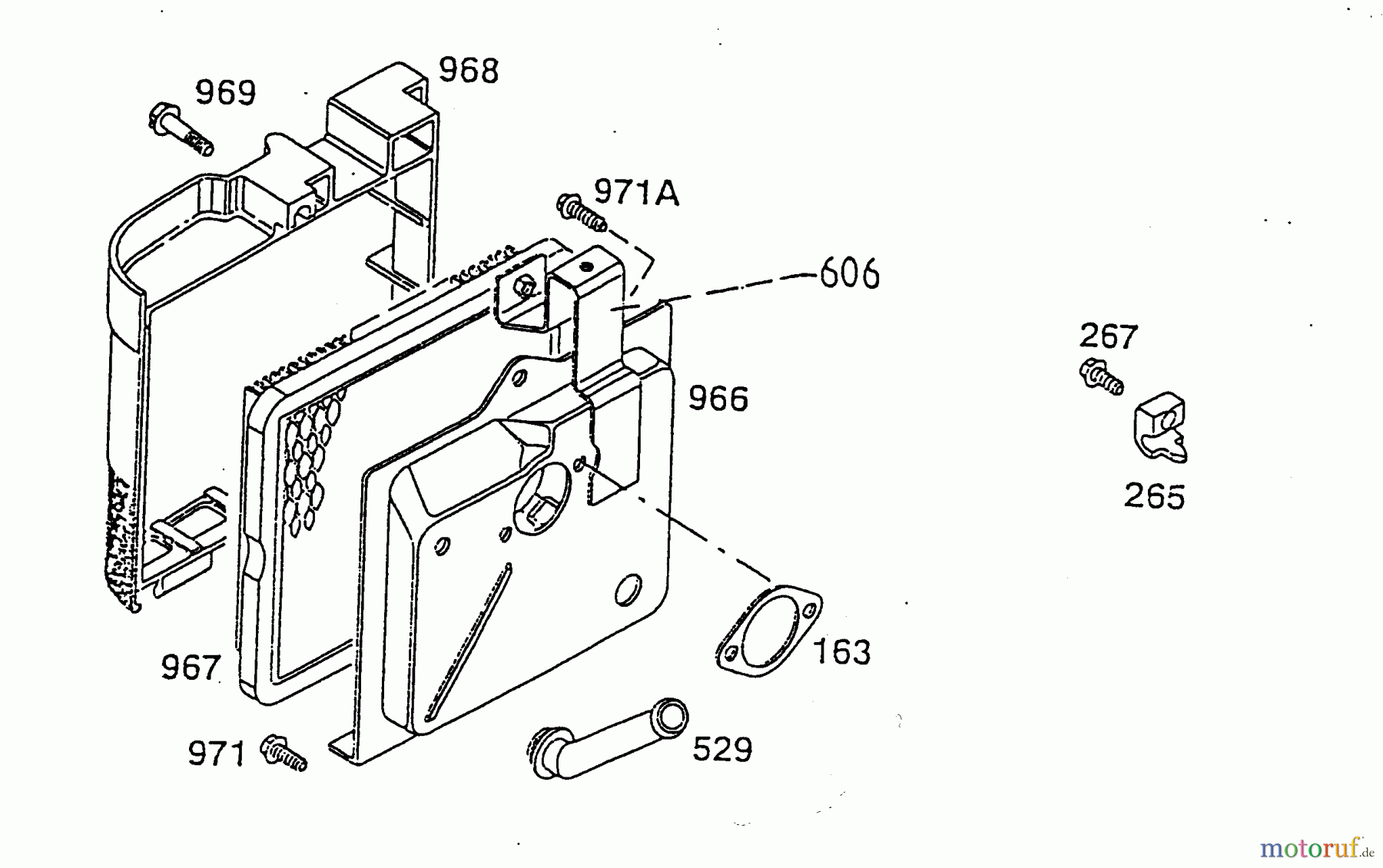
| BildNr | Artikel Nummer | Bezeichnung | |
| 163 | 2059220 | DICHTUNG G2 272653S | |
| 265 | 2063312 | SCHELLE G2 690798 | |
| 267 | 2063313 | SCHRAUBE G2 691044 | |
| 606 | 2059404 | HALTER G2 691753 | |
| 966 | 2059405 | GRUNDPLATTE G2 496 116 | |
| 967 | 2063408 | FILTER G2 491588S | |
| 968 | 2059406 | DECKEL G2 692298 | |
| 969 | 2003421 | Schraube | |
| 971 | 2003423 | Schraube | |


Qualitätsmanagement
Informieren Sie uns, wenn Sie einen Fehler gefunden haben.