Ersatzteile
Messerspindel 618-04162D 13AI91WJ650 (2013)

Ersatzteile für WOLF-Garten Geräte können Sie bei uns ganz einfach online kaufen. Wählen Sie das Ersatzteil über die Ersatzteilliste Ihres Gerätes aus.
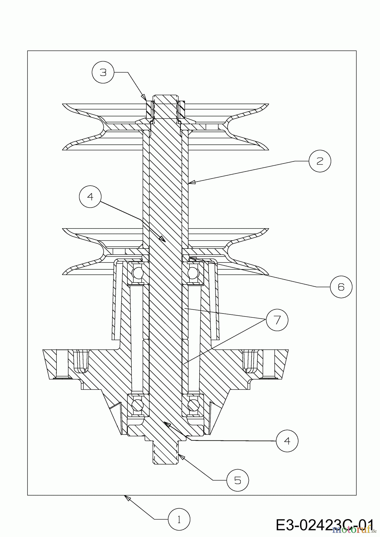
| BildNr | Artikel Nummer | Bezeichnung | |
| 1 | 618-04162D | ||
| 2 | 683-04234 | DOPPELKEILRIEMENSCHEIBE: | |
| 3 | 712-0471A | ||
| 4 | ![]() | 741-0919A | KUGELLAGER:.787IDx1.85OD x.551 |
| 5 | 738-04102 | MESSERWELLE:SPINDEL:8.27" LG | |
| 6 | 750-05703 | ||
| 7 | ![]() | 750-1000 | DISTANZBUCHSE:.80x1.10x1.330LG |


Qualitätsmanagement
Informieren Sie uns, wenn Sie einen Fehler gefunden haben.

