Ersatzteile
Fangsack Vertikutierer 3630680 Serie K (2011)

Ersatzteile für WOLF-Garten Geräte können Sie bei uns ganz einfach online kaufen. Wählen Sie das Ersatzteil über die Ersatzteilliste Ihres Gerätes aus.
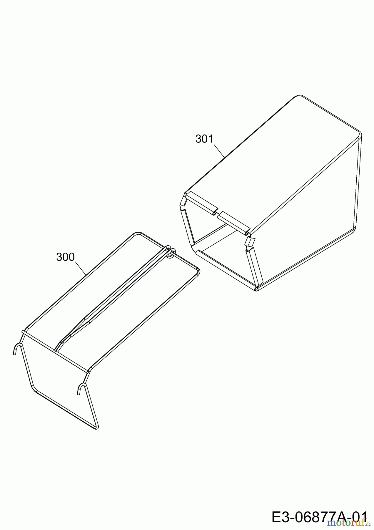
| BildNr | Artikel Nummer | Bezeichnung | |
| 300 | 3632017 | FANGSACKGESTELL KPL. | |
| 301 | 3632325 | FANGSACKTUCH | |


Qualitätsmanagement
Informieren Sie uns, wenn Sie einen Fehler gefunden haben.