Ersatzteile
Fangsack 18AWG1H-650 (2013)

Ersatzteile für WOLF-Garten Geräte können Sie bei uns ganz einfach online kaufen. Wählen Sie das Ersatzteil über die Ersatzteilliste Ihres Gerätes aus.
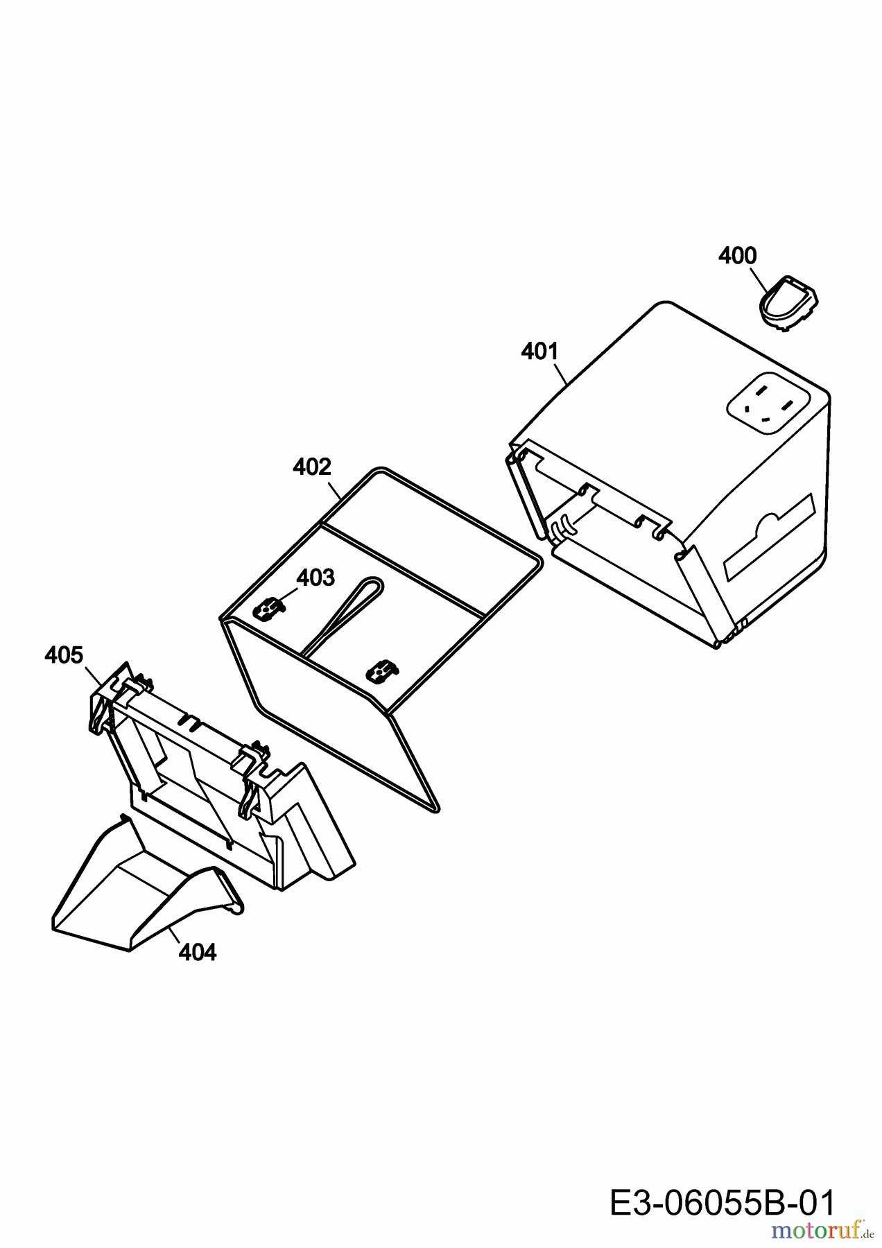
| BildNr | Artikel Nummer | Bezeichnung | |
| 400 | 4880061 | FUELLSTANDSANZEIGE KPL (RAL 30 | |
| 401 | 4907335 | Fangsacktuch 37er | |
| 402 | 4907034 | Fangsackgestell kpl.-lackiert | |
| 403 | 4921309 | Sicherungsriegel schwarz | |
| 404 | 4907312 | Schütte 37E | |
| 405 | 4907310 | Mundstück 37er rot (RAL3000) | |

