Ersatzteile
Mähwerksgehäuse 4901003 Serie G, H (2005)

Ersatzteile für WOLF-Garten Geräte können Sie bei uns ganz einfach online kaufen. Wählen Sie das Ersatzteil über die Ersatzteilliste Ihres Gerätes aus.
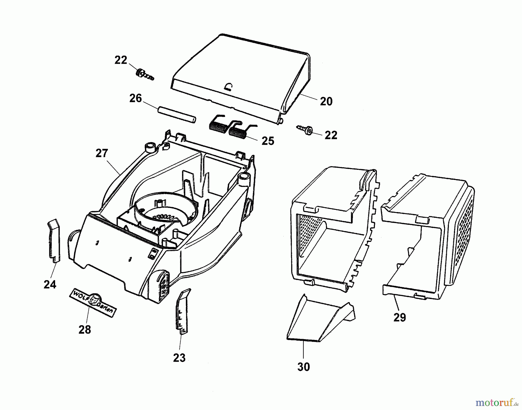
| BildNr | Artikel Nummer | Bezeichnung | |
| 20 | 4901302 | SCHUTZKLAPPE GELB | |
| 22 | 0012622 | PT-SCHR.KA50X10-WN1411-KREUZSC | |
| 23 | ![]() | 4901309 | RIEGEL LINKS |
| 24 | ![]() | 4901308 | RIEGEL RECHTS |
| 25 | 4901100 | SCHENKELFEDER-DOPPEL | |
| 26 | 4901208 | RUNDSTAB 8D | |
| 27 | 4901300 | CHASSIS PICCO 32E | |
| 28 | 0051115 | WOLF-GARTEN-MARKE (103MM) | |
| 29 | 4901303 | FANGKORBHAELFTE | |
| 30 | 4901307 | SCHUETTE | |


Qualitätsmanagement
Informieren Sie uns, wenn Sie einen Fehler gefunden haben.

