Ersatzteile
Grasfangsack 4904000 Serie G (2010)

Ersatzteile für WOLF-Garten Geräte können Sie bei uns ganz einfach online kaufen. Wählen Sie das Ersatzteil über die Ersatzteilliste Ihres Gerätes aus.
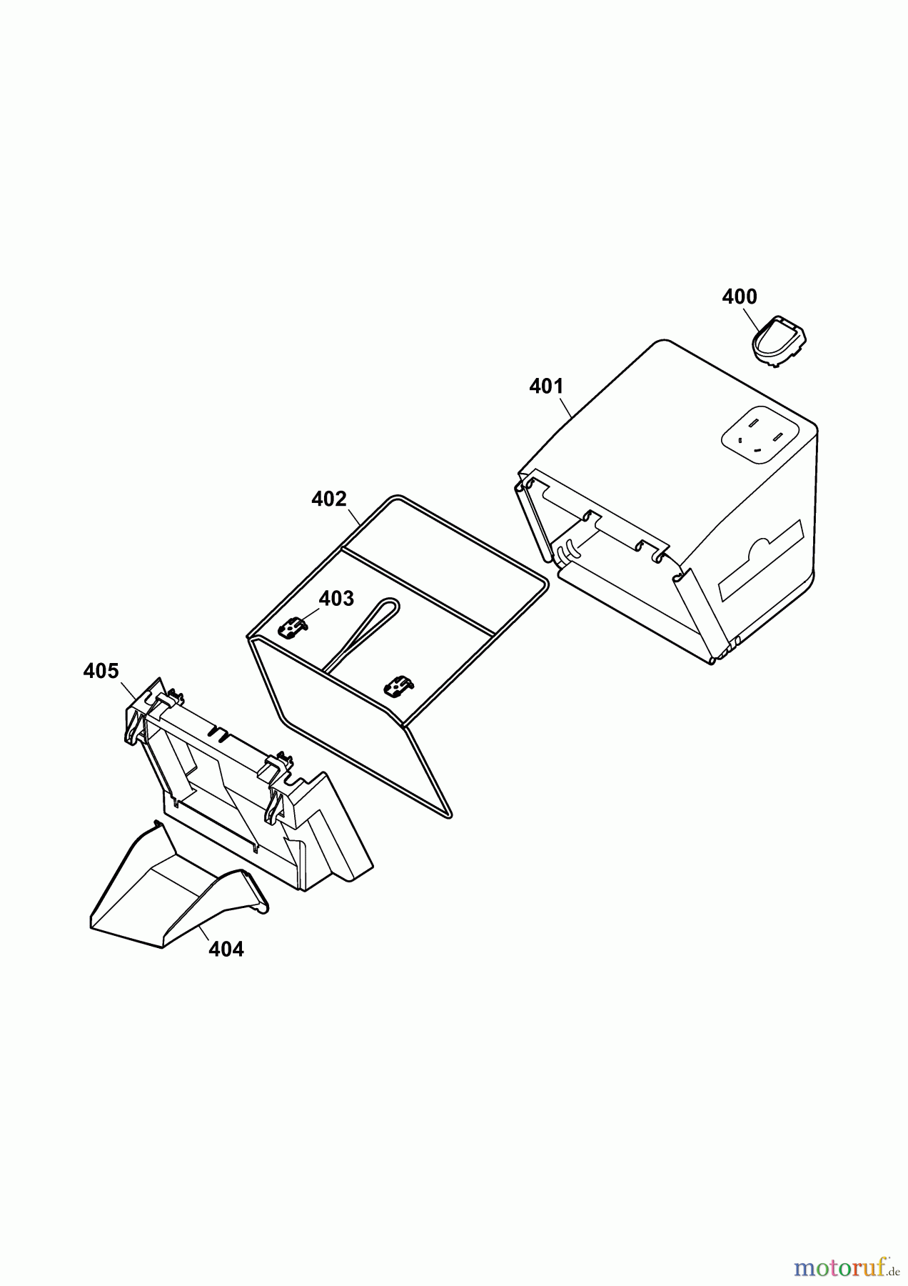
| BildNr | Artikel Nummer | Bezeichnung | |
| 400 | 4880061 | FUELLSTANDSANZEIGE KPL (RAL 30 | |
| 401 | 4904335 | Fangsacktuch 34er | |
| 402 | 4904034 | Fangsackgestell kpl.-lackiert | |
| 403 | 4921309 | Sicherungsriegel schwarz | |
| 404 | 4904312 | Schütte 34E | |
| 405 | 4904310 | Mundstück 34er rot (RAL3000) | |
| 406 | 4904031 | Fangsack 34er kpl. | |


Qualitätsmanagement
Informieren Sie uns, wenn Sie einen Fehler gefunden haben.