Ersatzteile
3549000 (2015) UG-M 3 (Vertikutierer)

Ersatzteile für WOLF-Garten Geräte können Sie bei uns ganz einfach online kaufen. Wählen Sie das Ersatzteil über die Ersatzteilliste Ihres Gerätes aus.
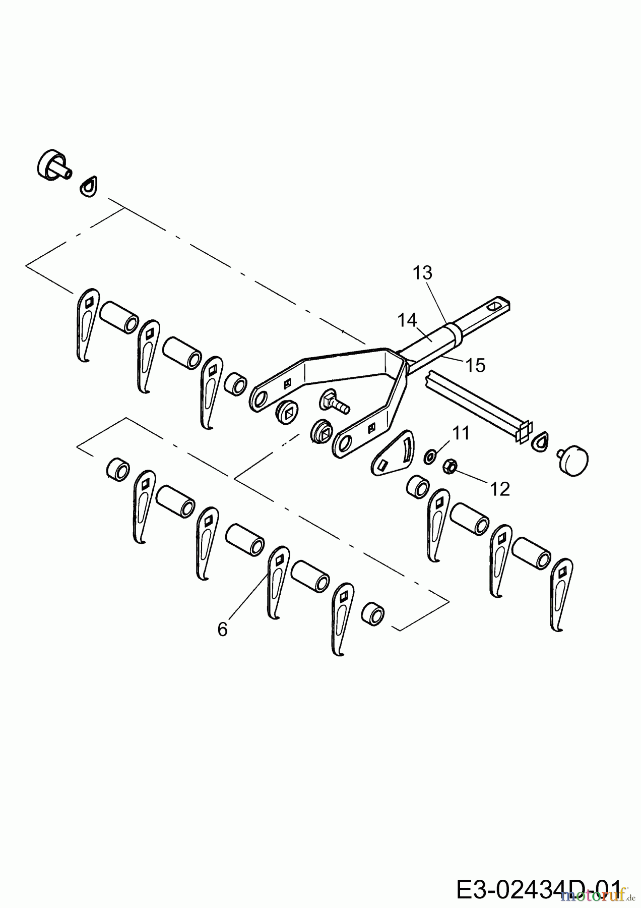
| BildNr | Artikel Nummer | Bezeichnung | |
| 6 | 3572401 | Messer UD-M3 | |
| 11 | 0017123 | Scheibe A8,4-DIN125-St | |
| 12 | 0016378 | Sechskantmutter ISO7042-M8-8 | |
| 13 | 1315101 | Manschette-gelb | |
| 14 | 1647300 | Griffhälfte-oben DO-M | |
| 15 | 1647301 | Griffhälfte-unten DO-M | |

