Ersatzteile
7430000 (1995) RP-W

Ersatzteile für WOLF-Garten Geräte können Sie bei uns ganz einfach online kaufen. Wählen Sie das Ersatzteil über die Ersatzteilliste Ihres Gerätes aus.
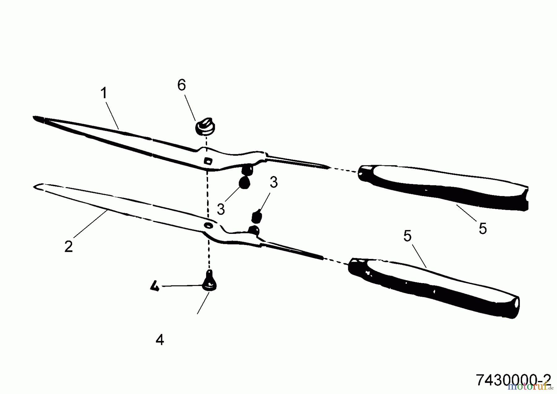
| BildNr | Artikel Nummer | Bezeichnung | |
| 1 | 7430015 | ||
| 2 | 7430016 | ||
| 3 | 7421206 | Gummipuffer (ETG-NR.02112/A) | |
| 4 | 7425201 | GewindebolZ.ST-VZ-M10x22-N.ZG | |
| 5 | 7428103 | Holzgriff-gelb | |
| 6 | 7430017 | Drehknopf-WOLF | |


Qualitätsmanagement
Informieren Sie uns, wenn Sie einen Fehler gefunden haben.